CA88

Ê×Ò³|CA88ÓÎÏ·¹Ù·½ÍøÕ¾
Ê×Ò³|CA88ÓÎÏ·¹Ù·½ÍøÕ¾

ÊÖÒÕÎÄÕÂ

Ê×Ò³ - ÐÂÎÅ×ÊѶ - ÊÖÒÕÎÄÕÂ

±ê×¼ºÍÖÆÔìÈÃÌìÏÂÖØÐÂÊìϤCA88Ö®Áù£º£º£ºCA88ºçÎüÆ÷

Ðû²¼ÈÕÆÚ: 2017-08-23    ä¯ÀÀ´ÎÊý: 8701    ÐÂÎű༭: 

¡¡¡¡ºçÎüÆ÷ÊÇÒ»ÖÖʹÓúçÎüÔ­Àí½«ºæ¸×ÄÚÀäÄýË®ÇãÔþ´Ó¶øÌáÉýºæ¸×Íâòζȵĺæ¸×ÅÅË®×°Öᣡ£¡£¡£Êг¡ÉÏÉú²úµÄºçÎüÆ÷·ÖΪÁ½´óÀ࣬£¬£¬Ò»ÀàÊÇÀο¿Ê½ºçÎüÆ÷£¬£¬£¬Ò»ÀàÊÇÐýתʽºçÎüÆ÷¡£¡£¡£¡£Àο¿Ê½ºçÎüÆ÷¼´Àο¿ÔÚºæ¸×ÍâµÄijһµãÉÏ£¬£¬£¬²»Ëæºæ¸×Ò»ÆðÐýת£»£»£»ÐýתʽºçÎüÆ÷Àο¿ÔÚºæ¸×ÄÚ²¿£¬£¬£¬Ëæºæ¸×Ò»ÆðÐýת¡£¡£¡£¡£

Àο¿Ê½ºçÎüÆ÷ÏÕЩÄܹ»Ó¦ÓÃÔÚËùÓгµËÙÔÚ100Ã×/·ÖÖÓÒÔÉϵÄ×°±¸ÉÏ£¬£¬£¬Ðü±ÛÀο¿Ê½ºçÎüÆ÷»¹Äܹ»Ó¦ÓÃÔÚ¿ªÊ½³ÝÂֺͱÕʽ³ÝÂÖ´«¶¯µÄÖ½»úÉÏ£¬£¬£¬Äܹ»ÔÚ×î´ó³Ì¶ÈÉϼõСװ±¸µÄÕñ¶¯ºÍƫת£¬£¬£¬Ê¹ºæ¸×µÄ¼ÓÈÈЧ¹û¸üÉÏÒ»²ãÂ¥¡£¡£¡£¡£

¡¡¡¡±¾¹«Ë¾Äܹ»ÌṩÖÖÖÖÐÎʽµÄÐýתʽºçÎüÆ÷£¬£¬£¬°üÀ¨Í¨Àý¼òÆÓʽºçÎüÆ÷ºÍµÍѹ²îÐýתʽºçÎüÆ÷¡£¡£¡£¡£ÐýתʽºçÎüÆ÷ͨ³£Ë³Ó¦ÓÚÖÐËÙÖ½»ú£¬£¬£¬ÓÉÓÚºçÎü¹ÜµÄÎü×ìÓë¸×±Ú¼äµÄ¼ä϶ºÜС£¬£¬£¬ÐγɵÄË®»·ºñ¶ÈºÜ±¡£¬£¬£¬Òò´ËÈÈ´«µ¼Ð§¹û½ÏºÃ¡£¡£¡£¡£±¾¹«Ë¾Éú²úµÄÐýתʽºçÎüÆ÷Æä×é×°¼þÉÙ£¬£¬£¬ÔÚºçÎüÆ÷µÄÈë¿Ú´¦ÓÐÒ»¸ö²»Ðâ¸ÖÎü×ìÓë±ÊÖ±ÀäÄýË®¹Üº¸½ÓÔÚÒ»Æð£¬£¬£¬¶øÔÚÁíÒ»¶ËÓÐÒ»¸öµ¯»ÉÖ§³ÖµÄѹÁ¦ÅÌʹºçÎüÆ÷¶¨Î»£¬£¬£¬ÒÔÏÂΪ±¾¹«Ë¾³£¼ûµÄºçÎüÆ÷½á¹¹£º£º£º

¡¡¡¡Ò»¡¢¡¢Àο¿Ê½ºçÎüÆ÷

¡¡¡¡1.?Èí¹ÜʽºçÎüÆ÷

¡¡¡¡Èí¹ÜʽºçÎüÆ÷ÊÇÆ¾Ö¤ºæÍ²ÌØµã¶øÓëÐýתÌÖÂÛÅäÌ×ʹÓõÄ£»£»£»ºçÎü¹ÜÊÇÓÉÄÓÐԽϺõIJ»Ðâ¸Ö½ðÊôÈí¹ÜÖÆ³É£¬£¬£¬ÒÀÀµ×ÔÉíÖØÁ¿£¬£¬£¬×ÔÓÉÏ´¹µ½ºæ¸×µ×²¿£¬£¬£¬Òò´Ë×°ÖÃÊ®·Ö±ãµ±¡£¡£¡£¡£

Ê×Ò³|CA88ÓÎÏ·¹Ù·½ÍøÕ¾

¡¡¡¡Ìص㣺£º£º

¡¡¡¡1) Èí¹Ü½á¹¹²»Êܺæ¸×Öá¾±¾Þϸ¡¢¡¢ºæ¸×Ö±¾¶ÏÞÖÆ£¬£¬£¬×°ÖÃÀû±ã£»£»£»

¡¡¡¡2) ²âËãʱÐè˼Á¿Èí¹ÜÄÓÐÔÏ´¹¶È£¬£¬£¬ÒòÊܵ½Èí¹ÜÖÊÁÏÄÓÐÔÏÞÖÆ£¬£¬£¬ÎÞ·¨¿ØÖÆÎü×ì¾àºæ¸×ÄÚ±Ú¾àÀ룬£¬£¬ÈÝÒ×Ôì³Éºæ¸×»ýˮ̫¶à»òÊÇÈí¹ÜÎü×ì¿ÚÓëºæ¸×ÄÚ±Ú±¬·¢Ä¦²Á£»£»£»

¡¡¡¡3) ºçÎüÈí¹ÜÎüË®ºó»áÔì³ÉÖØÁ¿ÔöÌí£¬£¬£¬¶øÈí¹ÜÏ´¹¸ß¶ÈÔöÌí£¬£¬£¬ÈÝÒ×Ôì³É²Á¸×£¬£¬£¬±¾¹«Ë¾ºçÎüÆ÷½¨ÒéÏ´¹¶ÈΪ25mm£»£»£»

¡¡¡¡Ï´¹µÄºçÎüÈí¹ÜÎÞ¸ÖÐÔ£¬£¬£¬ÊÜÀäÄýË®¹¥»÷ºó£¬£¬£¬»á±¬·¢°Ú¶¯£¬£¬£¬Æ«ÒÆÎüˮλÖ㬣¬£¬ÊÊÓÃÓÚµÍËÙÐýתװ±¸¡£¡£¡£¡£


¡¡¡¡2.ÄÚÖ§³Öʽ90¡ãËø½ôʽºçÎüÆ÷

¡¡¡¡ÄÚ¹ÜÖ§³ÖÀο¿Ê½ºçÎüÆ÷ÊÇÒ»ÖÖÓÉÄÚ²¿Ì¼ÖÊÌ×¹ÜÖ§³ÖµÄÐü±ÛÀο¿Ê½ºçÎüÆ÷¡£¡£¡£¡£½áʵµÄ²»Ðâ¸Öˮƽ¹ÜÓë±ÊÖ±¹ÜʹÓÃרÓеÄËø¶¨»úÖÆÀο¿¡£¡£¡£¡£ÍäÍ·°üÀ¨ËIJ¿·Ö£º£º£ºÖ÷Ìå¡¢¡¢°Ú¶¯Ìå¡¢¡¢Ëø¶¨ÂÝË¿ºÍµ¯»É¡£¡£¡£¡£ËùÓÐ×é¼þ¾ù½ÓÄɲ»Ðâ¸ÖÖÆ³É¡£¡£¡£¡£

Ê×Ò³|CA88ÓÎÏ·¹Ù·½ÍøÕ¾

¡¡¡¡Ìص㣺£º£º

¡¡¡¡1) ºçÎüÆ÷½á¹¹²»Êܺæ¸×Öá¾±¾Þϸ¡¢¡¢ºæ¸×Ö±¾¶ÏÞÖÆ£¬£¬£¬×°ÖÃÀû±ã£»£»£»

¡¡¡¡2) ÄÚÖ§³Öˮƽ¹Ü£¬£¬£¬ÔöÇ¿ÁËˮƽ¹ÜµÄÇ¿¶È£»£»£»

¡¡¡¡3) ¿ÉʹÎü×ì¿Ú¾àºæ¸×ÄÚ±Ú¾àÀëÖÁ×î½ü£»£»£»

¡¡¡¡4) ¸üºÃ×èÖ¹¿ÉÄÜÒòË®Á÷¹¥»÷±»Ë𻵵ÄΣÏÕÐÔ¡£¡£¡£¡£


¡¡¡¡3.ÍäͷʽºçÎüÆ÷
Ê×Ò³|CA88ÓÎÏ·¹Ù·½ÍøÕ¾
¡¡¡¡Ìص㣺£º£º
¡¡¡¡1) ½ÓÄɽÂÁ´ÅþÁ¬£¬£¬£¬Àû±ã×°Öᢡ¢Ò×ά»¤£»£»£»
¡¡¡¡2) Á½Öâ½ÓÖ®¼ä½ÓÄɾ­Óɾ«Ä¥¼Ó¹¤µÄÇòÍ·ÓëÖ®Ïà½ÓµÄÄÚ¿×Ò»ÏßÃÜ·â,¼ÓÖ®½ô¶¨µ¯»ÉʹÁ½Öâ½Ó¼ä£¬£¬£¬ÐγÉÁËÓÅÒìµÄÃܷ⣻£»£»
¡¡¡¡3) ÊÊÓÃÓÚµÍËÙÐýתװ±¸¡£¡£¡£¡£

¡¡¡¡4.µ¯»É½ôËøÊ½ÍäÍ·ºçÎüÆ÷

Ê×Ò³|CA88ÓÎÏ·¹Ù·½ÍøÕ¾

¡¡¡¡Ìص㣺£º£º
¡¡¡¡1) ËùÓнÓÄɲ»Ðâ¸ÖÉè¼Æ£¬£¬£¬ÖÆÔìÇ¿¶È¸ß£»£»£»
¡¡¡¡2) ½ÓÄɽÂÁ´½á¹¹£¬£¬£¬²»Ðâ¸Öµ¯»ÉËø¶¨£¬£¬£¬×°ÖÃʱ¿ÉÒÔÉìÖ±£»£»£»
¡¡¡¡3) ¿ÉÖ±½Ó´Óºæ¸×Öá¾±ÄÚ¿×ÖÐ×°Ö㬣¬£¬Ê¹ÓÃÀû±ã£»£»£»
¡¡¡¡4) ÃÜ·â½ÓÄÉÏ´¹µÄ͹ÇòÃæºÍˮƽµÄ°¼ÇòÃæÃܷ⣬£¬£¬ÃÜ·âÐÔÄܺᣡ£¡£¡£

¡¡¡¡5.Íä¹ÜʽºçÎüÆ÷
Ê×Ò³|CA88ÓÎÏ·¹Ù·½ÍøÕ¾
¡¡¡¡Ìص㣺£º£º
¡¡¡¡1) ÕûÌå½ÓÄɲ»Ðâ¸Ö»ò̼¸ÖÖÊÁÏÉè¼Æ£¬£¬£¬ÖÆÔìÇ¿¶È¸ß£»£»£»
¡¡¡¡2) ºçÎüÆ÷×°ÖÃʱÊܵ½Íä¶ÈµÄÏÞÖÆ£¬£¬£¬²âËãʱÐè˼Á¿ºæ¸×Öá¾¶Äڿ׵ľÞϸ£¬£¬£¬¸Ã½á¹¹ÊÊÓÃÓÚºæ¸×Öá¾¶Äڿ״󡢡¢ÔËתËÙÂʵ͵Ä×°±¸¡£¡£¡£¡£

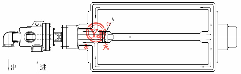
¡¡¡¡¶þ¡¢¡¢ÐýתʽºçÎüÆ÷
¡¡¡¡ÐýתʽºçÎüÆ÷Ïà±ÈÓÚÀο¿Ê½ºçÎüÆ÷ÔËתËÙÂʸü¸ß£¬£¬£¬ÓÉÓÚºçÎü¹ÜµÄÎü×ìÓë¸×±Ú¼äµÄ¼ä϶С£¬£¬£¬ÐγɵÄÁ÷Ìå½éÖʺñ¶È±¡£¬£¬£¬Òò´Ë´«µ¼Ð§¹û½ÏºÃ¡£¡£¡£¡£ ±¾¹«Ë¾ËùÉú²úµÄÐýתʽºçÎüÆ÷ÀàÐÍÖ÷ÒªÓÐÒÔÏÂÐÎʽ£º£º£º

1
Ê×Ò³|CA88ÓÎÏ·¹Ù·½ÍøÕ¾
2
Ê×Ò³|CA88ÓÎÏ·¹Ù·½ÍøÕ¾

3

Ê×Ò³|CA88ÓÎÏ·¹Ù·½ÍøÕ¾

4
Ê×Ò³|CA88ÓÎÏ·¹Ù·½ÍøÕ¾
5

Ê×Ò³|CA88ÓÎÏ·¹Ù·½ÍøÕ¾
6
Ê×Ò³|CA88ÓÎÏ·¹Ù·½ÍøÕ¾

¡¡¡¡ÄúµÄÖª×㣬£¬£¬CA88×·Ç󣡣¡ÓûÖª²úÆ·ÏêÇ飬£¬£¬Ç벦´òµç»°0595-22201044×Éѯ¡£¡£¡£¡£

Copyright ?CA88 °æÈ¨ËùÓÐ ÃöICP±¸05026600ºÅ Öлú±ê×¼»¯Ñо¿Ôº ÍøÕ¾½¨É裺£º£º¿ÆÎ°ÍøÂç

¡¾ÍøÕ¾µØÍ¼¡¿